Store coffre Compacto (Ke France)
Par sa discrétion et sa facilité de pose, le store coffre compacto est idéal pour les poses en appartement ou maison.
Son très faible encombrement, et ses platines universelles pour pose de face ou plafond, en font un produit très attrayant.
- Largeur disponible de 191 cm à 600 cm de large
- Avancée entre 160 et 310 cm en fonction de la largeur choisie
Les plus produits :
- 3 couleurs d'armatures au choix (blanc 9010 ou perle 1013 ou Anthracite 7016)
- Bras BALTEUS à sangle, haute résistance, esthétique et performant conçue pour endurer plus de 30000 cycles)
- Pose de face ou plafond de série
- Option perche télescopique pour bloquer le store
- Armature extrudés en aluminium laqué
- Lambrequin indépendant en option, forme au choix, hauteur 22 cm
- Produit répondant à la norme CE NF EN 13 561
- Résistance au vent garantie classe 2 jusque 500 x 260 et classe 1 au delà.
- Manoeuvre par manivelle possible jusqu'à 550 cm de large x 310 cm d'avancée
- Garantie 7 ans
![]()
Description
PRINCIPALES CARACTERISTIQUES
Coloris
Peinture Epoxy
- Ral Blanc 9010
- Ral Perle 1013
- Ral antracite 7016
Laquage spécifique en option
Largeur
- Sur mesure de 191 cm à 550 cm
- Avancée de 160 cm à 310 cm

Nombre de Bras (B) / Nombre de Supports de fixation (S) / Nombre de Lyre (L)

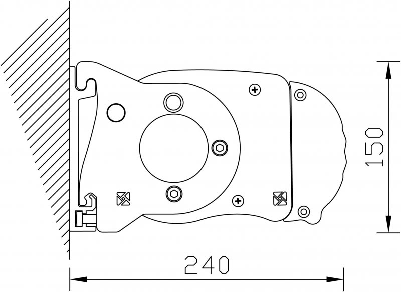
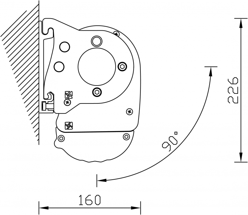
Pose
- De face

- Pose plafond

- Pose inclinaison à 90°

Support de fixation

Type de manoeuvre
- Manivelle
- Moteur Ke filaire
- Moteur Somfy filaire
- Moteur Ke filaire
- Moteur radio somfy
Inclinaison
- En pose de face :de 0° à 90° (du dessous du coffre au bas de la barre de charge)
- En pose plafond : de 15° à 90° (du dessous du coffre au bas de la barre de charge)
- 0° à 30° si moteur secours intérieur
Type de toile
- Gamme orchestra de Dickson
- Gamme orchestra Max de Dickson (Maxi 260 cm d'avancée)
- Gamme jacquard de Dickson (Maxi 260 cm d'avancée)
- Gamme Soltis 92 de serge Ferrari
- Gamme sunworker de Dickson
- Autres marques (Latim, Sattler... sur demande)
Lambrequin indépendant
- Forme vague ou droit en option
- Hauteur 22 cm
- Autres hauteurs sur demande
- Lettrage et impression logo sur demande.
Armature
- Barre de charge et auvent extrudés en aluminium laqué.
- Tube porteur 40 x 40, épaisseur 2 mm en acier laqué
Bras
- Conçue pour endurer plus de 30000 cycles, la sangle du nouveau bras Balteus est constitutée d'un polymère synthétique de haute performance injecté sur des câbles tenseurs.
- Sa composition est spécifiquement étudiée pour une utilisation intensive en extérieur et une résistance durable aux agressions des agents atmostphériques.
- Disponible avec éclairage led intégré, le bras BALTEUS apporte une touche incontestable de design et de modernité.
- Profils et rotule en aluminum laqué.
- De 160 à 310 cm, bras spin tension par câbles.
Tube
- Acier galvanisé diam 80 mm, système "Rollerbat" breveté, supérieure à 478 cm de large
Cache
- En aluminium laqué pour le auvent et en PVC pour les supports d'enroulement, fourchettes et barre de charge.
Visserie
- Inox A2
Poids
- Environ 13 kilos du mètre linéraire.
Eclairage Led sous les bras
Résistance au vent
- Classe 1 / 550 cm x 310 cm
- Classe 2 / 500 cm x 260 cm

Détails du produit
Compacto
Références Spécifiques
Commentaires
Commentaires (0)
Aucun avis n'a été publié pour le moment.
